

The Poké Ball Plus arrived as an accessory alongside the release of the Pokémon Let’s Go games last year. It was created to enhance the overall experience of catching ’em all – by allowing players to take their pocket monsters with them on the go, and could also be used as a single-handed controller in both entries.
In Sword and Shield, the accessory can no longer be used as a controller, but you can still take your Pokémon for a walk and earn rewards. So, are there any future plans for this device? While there have been no formal announcements from Nintendo, according to Japanese Nintendo, the company recently applied for a total of five “new” game controller patents – all linked to the Poké Ball Plus. Here’s the rundown:
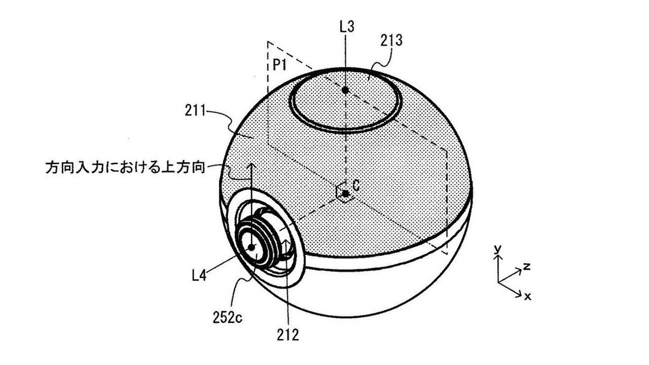
The patents aim to properly arrange components in a spherical controller, to enable various operations using a game controller, to properly arrange components in a spherical controller, to improve the degree of freedom for a structure for light emission in a game controller, and to provide a game controller in which components are properly arranged in a substantially spherical game controller.
As usual, there’s no guarantee anything new is necessarily on the way as these are just patents. It could simply be business as usual for Nintendo to ensure its designs remain protected.
What are your thoughts about this trademark? Have you used your Poké Ball Plus with Sword or Shield? Let us know!
